关于调整贵阳市中高风险区的公告
(2022年10月01日)
根据当前疫情防控形势,为快速有效阻断疫情传播,实现科学精准防控,切实保障辖区内群众生命安全和身体健康,逐步有序恢复正常生产生活秩序,按照《新型冠状病毒肺炎防控方案(第九版)》《贵阳市高风险区疫情防控攻坚指导方案》相关要求,经专家组研判,自10月2日0时起,将我市中高风险区调整如下:
一、高风险区调整为中风险区(共2个)
(一)花溪区(2个):董家堰村二组214号-220号,大职路溪北安置房。
二、中风险区调整为低风险区(共2个)
(一)云岩区(1个):沙河花园一期A1-A2、B-D栋、5-7栋区域。
(二)花溪区(1个):董家堰村二组(除214号-220号)。
本次调整后,全市高风险区完成清零。现将调整后中风险区汇总如下(以最新公布为准),请严格按照《新型冠状病毒肺炎防控方案(第九版)》有关要求,认真落实风险区调整后有关防控措施。
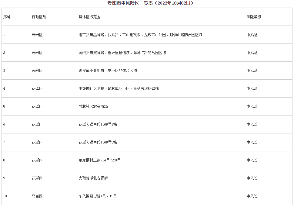
附件:贵阳市中风险区一览表(2022年10月02日)
贵阳市疫情防控现场处置
省市联动指挥部
2022年10月01日
附件


— 热门评论 —