根据当前疫情防控形势,为快速有效阻断疫情传播,实现科学精准防控,切实保障辖区内群众生命安全和身体健康,按照《新型冠状病毒肺炎防控方案(第九版)》《关于进一步优化新冠肺炎疫情防控措施科学精准做好防控工作的通知》(联防联控机制综发〔2022〕101号)相关规定,经综合研判,自2022年12月3日起,将南明区、观山湖区高风险区调整如下:
一、 新增高风险区(1个)
1.观山湖区金阳街道华润国际社区B区5栋
以上高风险区实行封控措施,期间“足不出户、上门服务”。
二、高风险区调整为低风险区(1个)
1.南明区花果园K区6栋1单元
南明区、观山湖区除高风险区外的其他区域为低风险区,实行“个人防护,避免聚集”。
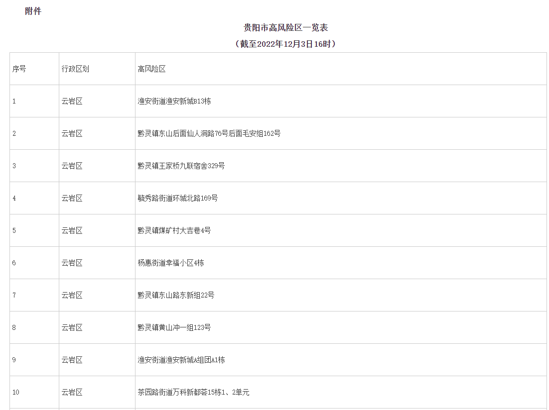
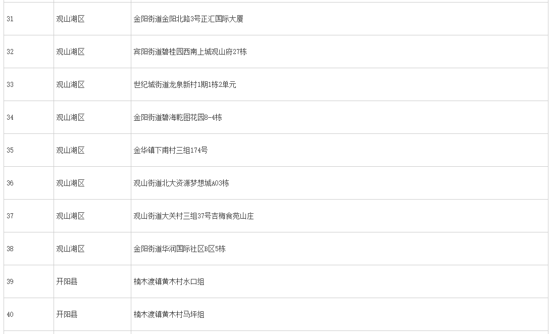
本次调整后贵阳市共有高风险区46个。以上区域范围及管控要求将根据疫情形势变化适时调整。
附件:贵阳市高风险区一览表(截至2022年12月3日16时)
贵阳贵安疫情防控指挥部
2022年12月3日





— 热门评论 —